



YG型過濾器廣泛用于蒸汽、空氣、水、油品等系統管道中,保護各種計量器、泵機、閥門、疏水器等設備。


YG型過濾器壓力損失小,流通面積大,抗污性強。排污方便。

| Type 型號 | Pressure Nominal(MPa) 公稱壓力 | Working Temperature(℃) 工作溫度 | Filter Net Eye Number 濾網目數 | APPlicable Media 適用介質 |
|---|---|---|---|---|
| YG—W | 2.0 | 300 | 20~150 | Steam,Air,Water,Oil |
| YG—F | 5.O | 425 | 20~150 | 蒸汽、空氣、水、油 |
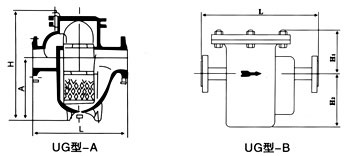
| Type 型號 | Nominal Diameter(DN)公稱通徑 | External dimensions(mm)外形尺寸 | ||
|---|---|---|---|---|
| A | L | H | ||
| UG型一A | 10 | 150 | 80 | 125 |
| 15 | 150 | 80 | 125 | |
| 20 | 180 | 100 | 153 | |
| 25 | 180 | 100 | 153 | |
| 40 | 200 | 155 | 304 | |
| 50 | 300 | 155 | 340 | |
| 65 | 340 | 220 | 380 | |
| 80 | 400 | 250 | 420 | |
| 100 | 500 | 295 | 502 | |
| 150 | 600 | 335 | 650 | |
| 200 | 786 | 395 | 770 | |
| UG型一B | Nominal Diameter(DN)公稱通徑 | External dimensions(mm)外形尺寸 | ||
| L | H1 | H2 | ||
| 15 | 270 | 90 | 145 | |
| 20 | 270 | 90 | 145 | |
| 25 | 270 | 90 | 145 | |
| 32 | 320 | 125 | 175 | |
| 40 | 320 | 125 | 175 | |
| 50 | 320 | 125 | 175 | |
| 65 | 430 | 140 | 220 | |
| 80 | 430 | 140 | 220 | |
| 100 | 430 | 140 | 220 | |
| 125 | 460 | 160 | 235 | |
| 150 | 460 | 170 | 235 | |
| 200 | 460 | 190 | 235 | |

dgfmjt@163.com

021-66861950

上海市金山區亭林鎮亭朱公路1918號