



YFG型法蘭過濾器廣泛用于蒸汽、空氣、水、油品等多種介質的管線中;此類過濾器保護管線系統各種設備、水泵、閥門等;免受管道同、鐵銹、焊渣等雜質。帶來的阻塞和損壞。


抗污性強,排污方便;流通面積大,壓力損失小;結構簡單,體積小。重量輕。
濾芯網材質。均為全不銹鋼制作。耐腐蝕性強。使用壽命長。
過濾網密度:為l0—120目,介質:蒸汽、空氣、水、油品、或根據用戶要求定做。
伸縮型特點:拉伸長度。最大位置可移伸100mm。有利于安裝方便。提高工作效率。

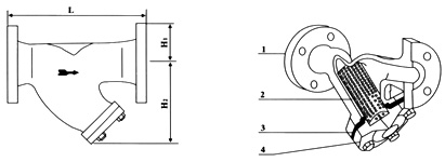
| 要主零件部件材料表 | Code 序號  | Parts 零件名稱  | Materials 材料  | 
|---|---|---|---|
| 1 | Bodv 閥體  | CarbonsteelStainlessSteel 碳鋼、不銹鋼  | |
| 2 | Filter Core Net 濾芯網  | Stainless Steel 不銹鋼  | |
| 3 | Gasket 墊片  | Metal graphite 金屬石墨  | |
| 4 | Gauze Filter Cap 濾網蓋  | CarbonsteeIStainlessSteel 碳鋼、不銹鋼  | 
| Model 產品型號  | Nominal Diameter(DN) 公稱通徑  | Connection 連接方式  | Nominal Pressure fMPa) 公稱壓力  | Max.Allowable TMP(℃) 最高允許溫度  | External Dimensions(mm)外形尺寸 | ||
|---|---|---|---|---|---|---|---|
| L | H1 | H2 | |||||
| YFG | 15—20 25  | Flange法蘭 | 1.6—4.0 | 425 | 160 150  | 53 58  | 70 95  | 
| YFG | 32 | Flange法蘭 | 1.6—4.O | 425 | 1 80 | 73 | 120 | 
| YFG | 40 | Flange法蘭 | 1.6—4.0 | 425 | 200 | 75 | 1 35 | 
| YFG | 50 | Flange法蘭 | 1.6—4.0 | 425 | 230 | 80 | 1 65 | 
| YFG | 65 | Flange法蘭 | 1.6—4.0 | 425 | 270 | 93 | 1 80 | 
| YFG | 80 | Flange法蘭 | 1.6—4.O | 425 | 290 | 1 00 | 1 89 | 
| YFG | 1 00 | Flange法蘭 | 1.6—4.0 | 425 | 310 | 1 1 0 | 235 | 
| YFG | 125 | Flange法蘭 | 1.6—4.0 | 425 | 400 | 125 | 280 | 
| YFG | 1 50 | Flange法蘭 | 1.6—4.0 | 425 | 430 | 143 | 345 | 
| YFG | 200 | Flange法蘭 | 1.6—4.O | 425 | 500 | 170 | 410 | 
| YFG | 250 | Flange法蘭 | 1.6—4.0 | 425 | 590 | 203 | 610 | 
| YFG | 300 | Flange法蘭 | 1.6—4.0 | 425 | 650 | 230 | 690 | 
| YFG | 350 | Flange法蘭 | 1.6—4.0 | 425 | 700 | 255 | 780 | 

dgfmjt@163.com

021-66861950

上海市金山區亭林鎮亭朱公路1918號