



非密封型手動空氣調節蝶閥可作為通風除塵管路雙向啟閉及調節裝置,適用于冶金、礦山、水泥、化工、發電等行業的通風除塵及環境保護系統之中


特點
非密封型手動空氣調節蝶閥為鋼板焊接,長度短、重量輕、結構簡單、使用維修方便,電動可實現現場操作和遠距離控制。本閥為非密封型閥門。
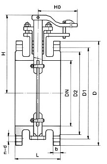
結構示意圖

主要外形及重量
| 公稱通徑 | 主要外形尺寸 | 重量 | ||||||||
|---|---|---|---|---|---|---|---|---|---|---|
| L | D | D1 | D2 | H | b | C | n-d | Ho | ||
| 100 | 120 | 210 | 170 | 144 | 166 | 18 | 2 | 4-48 | 200 | 10 |
| 125 | 120 | 240 | 200 | 174 | 177 | 18 | 2 | 8-18 | 200 | 12 |
| 150 | 120 | 265 | 225 | 200 | 190 | 20 | 2 | 8-18 | 200 | 14 |
| 200 | 140 | 320 | 280 | 254 | 240 | 22 | 2 | 8-18 | 250 | 29 |
| 250 | 160 | 375 | 335 | 310 | 264 | 24 | 2 | 12-18 | 250 | 31 |
| 300 | 180 | 440 | 395 | 363 | 290 | 24 | 2 | 12-22 | 250 | 34 |
| 350 | 180 | 490 | 445 | 413 | 352 | 24 | 2 | 12-22 | 350 | 55 |
| 400 | 180 | 540 | 495 | 463 | 377 | 24 | 2 | 16-22 | 350 | 62 |
| 450 | 180 | 595 | 550 | 518 | 402 | 24 | 2 | 16-22 | 350 | 72 |
| 500 | 180 | 645 | 600 | 568 | 427 | 26 | 2 | 20-22 | 350 | 83 |
| 600 | 180 | 755 | 705 | 667 | 477 | 30 | 2 | 20-26 | 350 | 106 |

dgfmjt@163.com

021-66861950

上海市金山區亭林鎮亭朱公路1918號